四川省人民政府
免费接送/急救电话:0825-2257490 / 2233105 电话预约挂号:0825-5817080 投诉电话:0825-2226870 域名:遂宁市船山区妇幼保健院.公益
新闻
下载
图库
FLASH
电影
商品
文章
分类信息
关注我们:
首页
医院简介
医院简介
温馨环境
领导班子
科室简介
组织架构
仪器设备
医院荣誉
医院分布图
医院文化
党建工作
医院资质
党务公开
党建动态
党风廉政
支部动态
行政党支部
支部介绍
动态
妇幼第一党支部
支部介绍
动态
妇幼第二党支部
支部介绍
动态
退休党支部
支部介绍
动态
医院动态
院内新闻
人事招聘
科室动态
行政后勤
党政办
科室介绍
动态
医务科
科室介绍
动态
护理部
科室介绍
动态
院感科
科室介绍
动态
基层保健公共卫生
科室介绍
动态
人事科
科室介绍
动态
对外合作办公室
科室介绍
动态
体检科
科室介绍
动态
采购办
科室介绍
动态
财务科
科室介绍
动态
后勤科
科室介绍
动态
驾驶班
科室介绍
动态
信息科
科室介绍
动态
医学装备科
科室介绍
动态
临床科室
孕产保健部
科室介绍
动态
妇女保健和计划生育服务部
科室介绍
动态
儿童保健部
科室介绍
动态
婚孕检中心
科室介绍
动态
麻醉科手术室
科室介绍
动态
功能科
科室介绍
动态
检验科
科室介绍
动态
内科
科室介绍
动态
外科
科室介绍
动态
中医科(中医康复)
科室介绍
动态
特色服务
妇科
产科
儿科
医生推荐
妇科
产科
儿科
内科
外科
中医科(中医康复科)
就医指南
保健知识
青春期保健
围婚期保健
孕期保健
产期保健
新生儿护理
儿童保健
更年期保健
女性保健
健康宣教
院务公开
快速链接
医院简介
党务公开
医院动态
科室动态
特色服务
医生推荐
就医指南
保健知识
咨询电话:0825-2257490
工作时间:8点-12点 14点-17点
790124651@qq.com
热门点击
给新生儿家长的一封信(新生儿筛查)
计划受孕前,应注意避免的干扰因素
门诊科室设置及主要诊疗项目
经腹筋膜内全子宫切除术
儿科开展项目
分娩时是否有医务人员陪伴?是否可提供分娩时
减少意外受孕 呵护女性健康
检验科开展项目、检查流程及注意事项
放置宫内节育器注意事项
腹膜外剖宫产手术
您当前的位置:
首页
>
就医指南
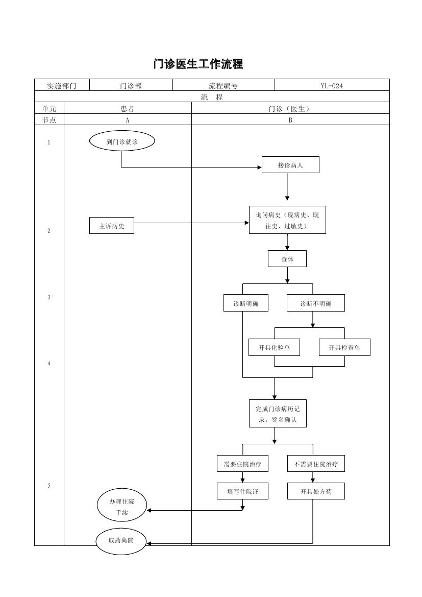
门诊医生工作流程
时间:2023-04-05 21:29:44